Sign up
Log in
Results
View all 1 pictures

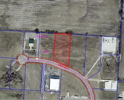
1.32 Acres in Sunbury, OH - $124,900

Industrial land--zoned light manufacturing. Sunbury sewer, Del-co water, and Columbia gas available. Agent related to seller.

From elevation to risk assessment

Search for detailed parcel information including; Elevation & Vegetation Maps, Ownership Information, Detailed Parcel Information, Crop History Map, Soil Survey Productivity Data, and more.

Research Parcel Information

Environmental Factors

Flood Factor ™
/ 10
Fire Factor ™
/ 10
Heat Factor ™
/ 10
Wind Factor ™
/ 10
Source:First Street
Contact Seller

Forman Realtors, Inc

Sunbury, OH

(740) 965-1212