Sign up
Log in
Results
View all 1 pictures

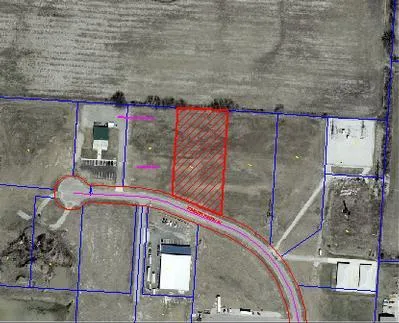
1.32 Acres in Sunbury, OH - $119,900

Light Industrial land located 3 miles east of the I-71 & 36/37 interchange and .75 miles west of State Route 3C & 36/37 intersection. Kintner is a signalized intersection. Industrial lots perfect for small business use or multiple adjacent lots for larger users. Lots are inproved with all utilities. Agent related to owner.

From elevation to risk assessment

Search for detailed parcel information including; Elevation & Vegetation Maps, Ownership Information, Detailed Parcel Information, Crop History Map, Soil Survey Productivity Data, and more.

Research Parcel Information
Contact Seller

Forman Realtors, Inc

Sunbury, OH

(740) 965-1212