Sign up
Log in
Results
View all 1 pictures

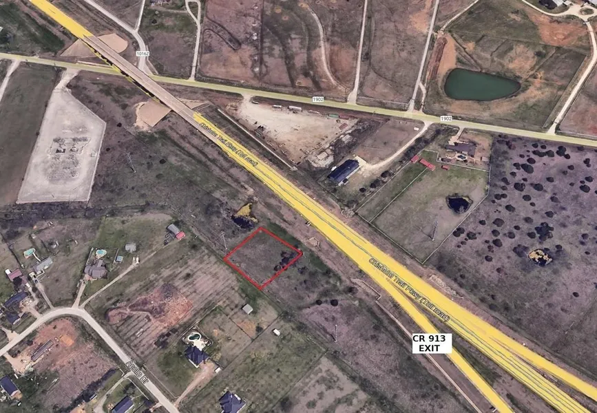
Land along Chisholm Trail

Great Investment Property! Fontage and Visibility from Chisholm Trail Parkway. No known Restrictions. No Current Utilities. Buyer will be responsible for obtaining access easement from NTTA.

From elevation to risk assessment

Search for detailed parcel information including; Elevation & Vegetation Maps, Ownership Information, Detailed Parcel Information, Crop History Map, Soil Survey Productivity Data, and more.

Research Parcel Information

Directions

Property does not currently have road access.. It has frontage along Chisholm Trail Parkway but does not have access.

Contact Seller
Texas Real Estate Sales

Cleburne, TX

(817) 422-8311